方案確認
技術質量方案確認、交期服務方案確認、結算價格方案確認
技術質量方案確認、交期服務方案確認、結算價格方案確認
樣機合作,樣機確認;
小批合作,小批確認;
批量合作,持續優化。
組裝和安裝工作必須要由經過培訓、素質合格的人員謹慎地進行;
制造廠家對于不正確的組裝和安裝所造成的任何損傷概不負責;
在進行規劃的階段就應該給減速機留出足夠的空間以備今后進行維護保養和修理工作;
在開始進行組裝和安裝工作之前一定要準備好合適的起重設備;
如果減速器(電機)上配備了風扇,則應該有足夠的空間以便能夠吸入空氣;
傳動裝置銘牌上的說明與現場電源相符;
傳動裝置應是完好無損的(在運輸或貯存過程中未損壞);
確認下列要求已經滿足:
對標準減速器:環境溫度0°C~+40°C
無油、酸、有害氣體、蒸汽、放射性物體等;
對特殊型式:傳動裝置是依據環境條件配置的;
對蝸輪蝸桿減速器:不能對具有自鎖功能的減速器
施加過大的逆向外部慣性矩,以免損壞減速器;
為了保證良好的潤滑,一定要遵守訂單中所規定的安裝位置;
務必注意減速器(電機)的警告和安全提示牌。
用可購買到的溶劑徹底清除輸出軸和法蘭表面的防腐劑、污物或類似物等;
注意:不要使溶劑浸入到油封的密封唇上,否則溶劑可能會損壞油封;
如果減速器貯存1年以上,軸承中潤滑劑的使用壽命將縮短;
如果加注的是礦物油或合成油(CLPHC),且加油量與安裝位置的要求相符,在這種情況下減速器隨時可以運行。但是,在起動前仍然要檢查油位;
在某些情況下加注的是合成油(CLPPG),油位較高一些,起動前應修正油位。
減速器(電機)只能按規定的安裝位置安裝在平的、減震的、抗扭的支撐結構上;箱體底腳與安裝法蘭在安裝過程中不能同時擰緊以免相互較勁;
當使用螺栓或地基塊將減速器(電機)固定在其混凝土的基礎上時,應該有合適的凹槽容納減速器(電機);
在安裝時請檢查注油量與安裝位置是否相符,如果安裝位置發生變化,請相應調整油量;
安裝直通式通氣器或打開通氣器運輸橡膠圈;
不要撞擊和敲擊軸端;
電機的垂直安裝方式要有遮蔽措施來防止異物或者液體侵入(防雨罩C);
安裝接線盒時,要讓電纜進線口指向下方。
在減速機的軸上安裝并固定輸入和輸出驅動零件(例如聯軸器的零部件等);
如果這些零部件在安裝之前需預先加熱,則有關正確的配合溫度,可參見聯軸器文件中的尺寸圖;
軸器的不對中性有可能是組裝造成的,也可能是實際操作造成的(例如熱膨脹、軸的撓度、機架的剛度不足等等);
聯軸器許可的對中誤差請參見相應品牌聯軸器的說明書;
對中應該在相互垂直的兩個軸向平面中進行??梢允褂弥背撸◤较虿粚χ校┖腿撸ń嵌炔粚χ校┻M行對中;
除非另有規定,否則這些零部件就可以用感應加熱的方法預熱,也可以用燒嘴或者在加熱爐內預熱。
工作機實心軸軸端應該配備符合DIN6885標準第一部分A型平鍵,并應該在其端面上有符合DIN標準322 DS型(有螺紋)的中心孔;
檢查減速機空心軸和工作機實心軸是否有軸座和邊緣部分的損壞;如果有必要的話,要用合適的工具進行修理并清理干凈;
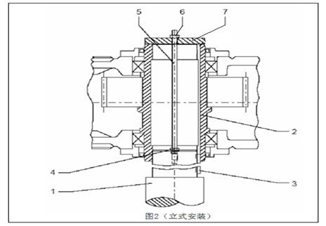
用螺母和螺桿安裝減速機,其反作用力是靠減速機空心軸提供的;
除了在圖1和圖2中所示的螺母和螺桿以外,還可以使用其它類型的裝置例如可以使用一套液壓提升裝置。
工作機實心軸端面上應該配備符合DIN標準322 DS型(有螺紋)的中心孔;
用整體式的襯套進行安裝;
用螺母和螺桿安裝減速機;反作用力是靠減速機空心軸提供的;
用寬松的襯套進行安裝;
將寬松的襯套推到工作機實心軸上,要用一個定位裝置將其牢固地固定在位,然后沿著工作機實心軸將其拉入減速機的空心軸(參考圖1、圖2);
減速機空心軸的外表面可以在收縮盤座的位置上添加潤滑脂;
按照順序逐個擰緊所有的緊固螺栓,要經過幾個輪回將所有的螺栓擰緊;
擰緊緊固螺栓直至內環和外環的前側面對齊為止。
擰下加油絲堵,添加正確種類的潤滑油至油尺或油鏡中線略靠上位置,再將絲堵安裝好;
已加油減速器(電機)無需加油。
在起動前一定要進行以下各項目的檢查并做好記錄:
(1)油面高度
(2)潤滑油冷卻或者供油系統管道的密封性
(3)軸封的有效性
(4)旋轉零部件并不與其它件接觸
在減速器(電機)首次啟動時,如有可能,應讓其空載運轉數小時,無若異常,可逐漸加載,在適當的時間把載荷加滿;
在操作中,減速機一定要監測:
油溫(在連續操作過程中,減速機的設計溫度是:持續運轉時使用礦物油的溫度為90℃。在更高的溫度下,一定要用合成油。短時間工作的最高溫度可達100℃);
運行噪聲的變化;
在箱體和軸封處可能的漏油;
正確的油面高度 ;
在包保期內所發生的、需要進行修理的故障一定要由客戶服務部進行。對于在包保期之后發生的、不能判定原因的故障,我們建議客戶和我們的客戶服務部進行聯系;
| 措施 | 期限 |
|---|---|
| 檢查油溫 | 每日 |
| 檢查減速機的不正常噪聲 | 每月 |
| 檢查減速機是否漏油 | 每月 |
| 檢查油面高度 | 每次起動減速機之前 |
| 檢驗油中的水分 | 在400工作小時后,至少每年一次 |
| 首次換油 | 在起動后工作400小時 |
| 其后的換油 | 每18個月或者5000工作小時 |
| 清理濾油器 | 每3個月 |
| 清理通氣螺閥 | 每3個月 |
| 清理風扇、風扇蓋和減速箱體 | 根據要求或者和換油同時進行 |
| 檢查冷卻盤管的結垢 | 大約每2年或者和換油同時進行 |
| 檢查潤滑油水冷卻器 | 和換油同時進行 |
| 檢查緊固螺栓的緊固程度 | 第一次換油后,其后每隔一次換油 |
| 對于減速機的全面檢查 | 大約每2年和換油同時進行 |
| 故障 | 原因 | 措施 |
|---|---|---|
| 在減速器的緊固件處有大的噪聲 | 緊固件松動了 | 將螺栓/螺母擰緊到規定的扭矩,更換損壞了的螺栓/螺母 |
| 減速器的噪聲變化 | 齒輪的輪齒發生了損壞 | 與客戶服務部聯系·檢查所有的齒輪,更換損害了的零件 |
| 軸承間隙過大 | 與客戶服務部聯系·調整軸承的間隙 | |
| 軸承損壞 | 與客戶服務部聯系·更換損壞的軸承 | |
| 工作溫度過高 | 箱體里面的油面過高 | 檢查油面的高度,必要的話,進行調整 |
| 油過于陳舊 | 與客戶服務部聯系,檢查上一次換油的時間,如果有必要的話就更換 | |
| 油受到嚴重污染 | 與客戶服務部聯系·換油 | |
| 在配備了潤滑油冷卻系統的減速機上:冷卻劑的流量過低或者過高 | 全面調節進口和出口管道的閥門,檢查水冷裝置的自由流量 | |
| 冷卻劑溫度過高 | 檢查溫度并按需調節 | |
| 通過水冷裝置的油流過低,其原因是:濾油器嚴重堵塞 | 清理濾油器 | |
| 油泵的機械故障 | 與客戶服務部聯系·檢查油泵的功能是否正?!ば蘩砘蛘邠Q油泵 | |
| 在配備了風扇的減速機上:風扇蓋的空氣入口和/或箱體嚴重污染 | 清理風扇蓋和箱體 | |
| 配備了冷卻螺旋管的減速機:冷卻螺旋管里面結垢 | 與客戶服務部聯系·清理或者更換螺旋管 | |
| 軸承處的溫度過高 | 減速機箱體里面的油面過高或者過低 | 在室溫下檢查油面的高度并按需加油 |
| 油過于陳舊 | 與客戶服務部聯系·檢查上次換油的時間 | |
| 油泵的機械故障 | 與客戶服務部聯系·檢查油泵的工作是否正常,修理或者換新油泵 | |
| 軸承損壞 | 與客戶服務部聯系·查閱操作人員在振動測量中所獲行的數據·檢查并按需更換軸承 | |
| 軸承處的振幅升高 | 軸承損壞 | 與客戶服務部聯系·檢查并按需用更換軸承 |
| 齒輪損壞 | 與客戶服務部聯系·檢查并按需更換齒輪 | |
| 止回裝置的溫度過高,止回功能失效 | 止回裝置損壞 | 與客戶服務部聯系·檢查并按需更換止加裝置 |
| 減速器漏油 | 箱體蓋或者連接處的密封不良 | 檢查密封和連接處,如果必要的話,更換新的將連接處密封好 |
| 徑向軸封失效 | 與客房服務部聯系·換新的徑向密封環 | |
| 油中有水 | 油中有雜物 | 用試管檢查油的狀態是否有水分存在實驗室分析油。 |
| 潤滑油冷卻器或者冷卻螺旋管失效 | 與客戶服務部聯系·找出并修理泄漏之處·更換冷卻器或者螺旋管 | |
| 減速機受到機器間的通風過來的涼空氣而產生凝露 | 用合適的保溫材料將減速機保護起來,關閉空氣的出口或者在結構上改變其方向 | |
| 壓力監測裝置報警(配備了壓力潤滑、潤滑油水冷卻裝置和空氣冷卻裝置的減速機) | 油壓<0.5bars | 在室溫下檢查油面高度,按需加油檢查濾油器,按需更換,與客戶服務部聯系·檢查油泵的功能是否正常處·修理或者更換油泵 |
| 雙切換式濾器的指示器發出報警 | 雙切換式濾器堵塞 | 按照說明將切換濾器進行切換,將堵塞了的濾芯取下來并清理 |
| 供油系統的故障 | 看操作說明書中關于供油系統的說明 | |
| 電機不起動 | 電源線中斷 | 檢查接線,需要時糾正 |
| 熔斷器熔斷 | 更換熔斷器 | |
| 電機保護裝置已動作 | 檢查電機保護裝置的設置是否正確,需要時排出故障 | |
| 電機接觸器不動作,控制系統中的故障 | 檢查電機接觸器的控制,需要時排除故障 | |
| 電機不起動或起動困難 | 電機應為三角形接線法,但卻是星形連接 | 糾正接線方式 |
| 電壓或者頻率至少在起動時嚴重偏離額定值 | 設法改善供電情況;檢查電源線的截面 | |
| 旋轉方向錯誤 | 電機接線錯誤 | 交換兩個相線 |
| 電機隆隆作響且電流消耗較大 | 繞組損壞 | 電機必須送專業修理廠修理 |
| 轉子觸碰繞組 | ||
| 熔斷器熔斷或者電機保護裝置立即動作 | 導線短路 | 排除短路 |
| 電機中有短路 | 送專業修理廠排出故障 | |
| 導線連接錯誤 | 糾正連接方式 | |
| 電機接地短路 | 送專業修理廠排出故障 |